HC-1600 - Echo Hedge Trimmer (Type 1) Carburetor S/N: 001001-006000 Parts Diagram

Hedge Trimmer (Type 1)

Carburetor S/N: 001001-006000 Parts Diagram

  • Title

Echo 12300005961

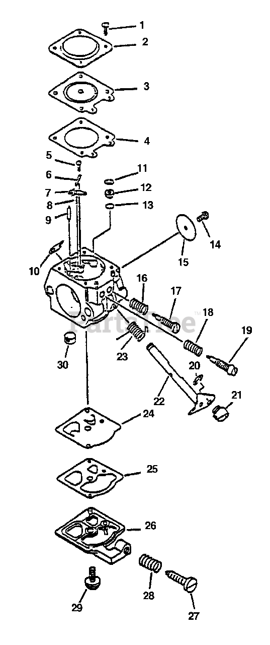
CARBURETOR - WT -168A
(Superseded to Discontinued)

Note: INCLUDES THE FOLLOWING

$

$

Not available

1

SCREW

Note: INCLUDED IN REPAIR KIT P/N 12310005960

$

$

Not available

2

Echo 12314203930

COVER, METERING DIAPHRAGM

$4.99

$

In Stock, only 2 left!

0

3

DIAPHRAGM, METERING

Note: INCLUDED IN REPAIR KIT P/N 12310005960 AND DIAPHRAGM/GASKET KIT P/N 12310105960

$

$

Not available

4

GASKET, METERING

Note: INCLUDED IN REPAIR KIT P/N 12310005960 AND DIAPHRAGM/GASKET KIT P/N 12310105960

$

$

Not available

5

SCREW, METERING LEVER PIN

Note: INCLUDED IN REPAIR KIT P/N 12310005960

$

$

Not available

6

PIN, METERING LEVER

Note: INCLUDED IN REPAIR KIT P/N 12310005960

$

$

Not available

7

LEVER, METERING

Note: INCLUDED IN REPAIR KIT P/N 12310005960

$

$

Not available

8

SPRING, METERING LEVER

Note: INCLUDED IN REPAIR KIT P/N 12310005960

$

$

Not available

9

VALVE, NEEDLE

Note: INCLUDED IN REPAIR KIT P/N 12310005960

$

$

Not available

10

$0.99

$

In Stock, only 2 left!

0

11

Echo 12316910630

RING, RETAINING

$1.49

$

Usually ships in 2-4 days

0

------------------

JET - 40

Note: INCLUDED IN REPAIR KIT P/N 12310005960

$

$

Not available

13

O-RING

Note: INCLUDED IN REPAIR KIT P/N 12310005960

$

$

Not available

14

SCREW, VALVE

Note: INCLUDED IN REPAIR KIT P/N 12310005960

$

$

Not available

15

Echo 12311605961

VALVE, THROTTLE 34-107
(Superseded to Discontinued)

$

$

Not available

------------------

SPRING, NEEDLE

Note: INCLUDED IN REPAIR KIT P/N 12310005960

$

$

Not available

------------------

NEEDLE, LOW SPEED

Note: INCLUDED IN REPAIR KIT P/N 12310005960

$

$

Not available

------------------

SPRING, NEEDLE

Note: INCLUDED IN REPAIR KIT P/N 12310005960

$

$

Not available

------------------

NEEDLE, HIGH SPEED

Note: INCLUDED IN REPAIR KIT P/N 12310005960

$

$

Not available

20

$1.49

$

Usually ships in 2-4 days

0

21

$2.49

$

Usually ships in 2-4 days

0

22

Echo 12311705960

SHAFT, THROTTLE

$8.49

$

Usually ships in 2-4 days

0

23

Echo 12311309660

SPRING, THROTTLE RETURN

$1.49

$

In Stock, Qty 11

0

------------------

DIAPHRAGM, PUMP

Note: INCLUDED IN REPAIR KIT P/N 12310005960 AND DIAPHRAGM/GASKET KIT P/N 12310105960

$

$

Not available

------------------

GASKET, PUMP

Note: INCLUDED IN REPAIR KIT P/N 12310005960 AND DIAPHRAGM/GASKET KIT P/N 12310105960

$

$

Not available

26

Echo 12312402960

COVER, PUMP

$6.99

$

Usually ships in 2-4 days

0

27

Echo 12313404260

SCREW, IDLE ADJUST

$2.49

$

In Stock, only 2 left!

0

28

Echo 12313304260

SPRING, IDLE ADJUST

$7.49

$

In Stock, only 2 left!

0

29

$0.99

$

Usually ships in 2-4 days

0

30

STRAINER

Note: INCLUDED IN REPAIR KIT P/N 12310005960

$

$

Not available

Echo 12310005960

REPAIR KIT

$21.99

$

Usually ships in 2-4 days

0

Echo 12310105960

GASKET / DIAPHRAGM KIT

$

$

Not available