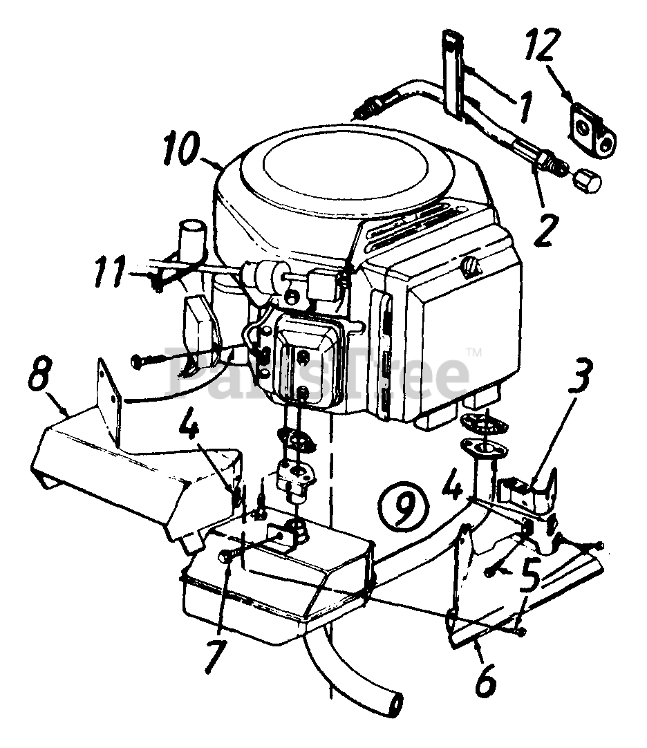
LT-16 (135T676H190) - White Outdoor 46" Lawn Tractor (1995) Engine Attachments Parts Diagram

46" Lawn Tractor

Engine Attachments Parts Diagram

  • Title

$

$

Not available

2

White Outdoor 727-0434

Hydraulic Hose 13" Lg.

$

$

Not available

3

White Outdoor 16877

Front Heat Shield Ext.

$

$

Not available

4

White Outdoor 712-0147

Speed Nut #10-24 Thd.

$7.49

$

Usually ships in 3-6 days

0

5

White Outdoor 710-0429

Hex B-Tap Scr. #10 x .38" Lg.
(Superseded to 910-0429)

$3.99

$

Usually ships in 3-6 days

0

6

White Outdoor 16876A

Front Heat Shield

$

$

Not available

7

White Outdoor 710-0599

Hex Wash. Hd. TT-Tap Scr. 1/4-20 x .5" Lg.

$4.49

$

In Stock, Qty 20+

0

8

White Outdoor 16874

Muffler Heat Shield

$

$

Not available

9

White Outdoor 751-0469A

Muffler Ass'y. Comp.

$

$

Not available

10

Engine

$

$

Not available

11

White Outdoor 726-0240

Cable Tie
(Superseded to 725-0157)

$3.99

$

In Stock, Qty 20+

0

12

$

$

Not available