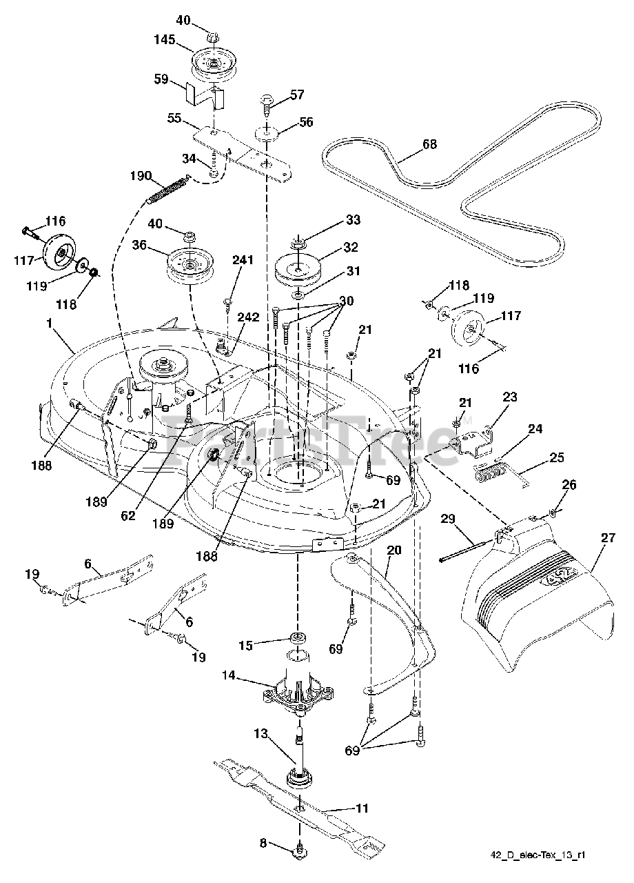
LT 2218 A (960410105-01) - Jonsered Lawn Tractor (2010-01) MOWER DECK / CUTTING DECK Parts Diagram

Lawn Tractor

MOWER DECK / CUTTING DECK Parts Diagram

  • Title
1

Jonsered 532196495

DECK.WELDMENT.42"
(Superseded to 598602801)

$455.99

$

Usually ships in 3-10 days

0

6

Jonsered 532195186

ARM.SUSPENSION.MOWER.R
(Superseded to 529846401)

$20.99

$

In Stock, only 2 left!

0

8

Jonsered 532193003

BOLT.WASHER.ASM.7/16-2

$9.49

$

In Stock, Qty 20+

0

11

Jonsered 532138971

42" HI-LIFT BLADE

$20.99

$

In Stock, Qty 20+

0

13

Jonsered 532192872

SHAFT.ASM.MDRL.N/GREASE.38
(Superseded to 587819701)

$62.99

$

In Stock, Qty 20+

0

14

Jonsered 532187281

HOUSING MANDREL
(Superseded to 587819701)

$62.99

$

In Stock, Qty 20+

0

15

$14.99

$

In Stock, Qty 20+

0

19

Jonsered 532196539

BOLT.SHOULDER

$1.49

$

In Stock, Qty 20+

0

20

Jonsered 532159770

BAFFLE.VORTEX
(Superseded to 531167001)

$17.99

$

In Stock, Qty 20+

0

21

Jonsered 873680500

LOCKNUT
(Superseded to 873800500)

$3.49

$

In Stock, Qty 20+

0

23

Jonsered 532192557

BRKT.DEFLECTOR.38"2005+

$9.49

$

In Stock, Qty 20+

0

24

Jonsered 532105304

CAP-SLEEVE LT

$3.49

$

In Stock, Qty 16

0

25

Jonsered 532197026

SPRING.TORSION.DEFLECT

$11.99

$

In Stock, Qty 20+

0

26

Jonsered 532110452

NUT PUSH M

$3.49

$

In Stock, Qty 20+

0

27

Jonsered 532403004

SHIELD.DEFLECTOR.MOWER.42"BLAC

$37.99

$

In Stock, only 3 left!

0

29

Jonsered 532131491

ROD.HINGE
(Superseded to 595297001)

$6.99

$

In Stock, Qty 14

0

30

Jonsered 532173984

SCREW, WASHER HEAD
(Superseded to 584953901)

$1.49

$

In Stock, Qty 20+

0

31

Jonsered 532187690

WASHER.SPACER.MANDREL

$5.99

$

In Stock, Qty 20+

0

32

Jonsered 532153535

PULLEY/MANDREL
(Superseded to 532173436)

$20.99

$

In Stock, Qty 20+

0

33

Jonsered 532400234

NUT.FLANGE.LOCK.TOP
(Superseded to 596134801)

$2.49

$

In Stock, Qty 20+

0

34

Jonsered 872110612

BOLT.3/8-16X1.50
(Superseded to 596136101)

$3.49

$

In Stock, only 2 left!

0

36

Jonsered 532197379

PULLEY.IDLER.2006
(Superseded to 532196106)

$43.99

$

In Stock, Qty 20+

0

40

Jonsered 873900600

NUT LOCK FLG 3/8-16 UNC
(Superseded to 532409149)

$1.49

$

In Stock, Qty 17

0

55

Jonsered 532197249

IDLER.ARM
(Superseded to 531169401)

$6.99

$

In Stock, Qty 20+

0

56

Jonsered 532199092

SPACER.RETAINER

$7.99

$

In Stock, Qty 20+

0

57

Jonsered 817000616

SCREW 3/8-16X1

$6.99

$

In Stock, only 4 left!

0

59

Jonsered 532141043

GUARD, BELT
(Superseded to 531165901)

$5.99

$

In Stock, Qty 11

0

62

Jonsered 872110616

BOLT
(Superseded to 596136301)

$3.49

$

In Stock, only 4 left!

0

68

Jonsered 532144959

BELT V SECONDARY

$43.99

$

In Stock, Qty 20+

0

69

Jonsered 872140505

BOLT
(Superseded to 596136401)

$3.49

$

In Stock, Qty 20+

0

116

Jonsered 532124842

No Description Available
(Superseded to 596434402)

$4.99

$

In Stock, Qty 20+

0

117

Jonsered 532188606

WHEEL.GAGE.HALF.SPOKED
(Superseded to 589527401)

$11.99

$

In Stock, Qty 20+

0

118

Jonsered 873900600

NUT LOCK FLG 3/8-16 UNC
(Superseded to 532409149)

$1.49

$

In Stock, Qty 17

0

119

Jonsered 819121414

WASHER
(Superseded to 734117201)

$

$

Not available

145

Jonsered 532193197

PULLEY.IDLER.48"PRIMARY
(Superseded to 532177968)

$28.99

$

In Stock, Qty 12

0

188

Jonsered 532195161

STUD.FASTNER.W/ANTI-ROTATE

$

$

Not available

189

Jonsered 873900500

NUT LOCK HEX FLANGE 5/16-18
(Superseded to 596135701)

$3.49

$

In Stock, Qty 13

0

190

Jonsered 532197251

SPRING.MOWER.DRIVE.ELECTRIC

$13.99

$

In Stock, Qty 15

0

241

$3.99

$

In Stock, only 2 left!

0

242

Jonsered 532415598

PORT.WASHOUT

$7.99

$

In Stock, Qty 8

0

--

Jonsered 532192870

MANDREL.ASM.SUB-NON.GR
(Superseded to 587819701)

$62.99

$

In Stock, Qty 20+

0

--

Jonsered 532432481

No Description Available

$

$

Not available