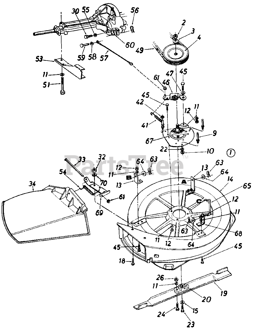
R-10 (131-521B190) - White Outdoor 30" Rear-Engine Riding Mower (1991) Deck Assembly Parts Diagram

30" Rear-Engine Riding Mower

Deck Assembly Parts Diagram

  • Title
1

White Outdoor 17611

30" S.D. Deck Ass'y. Comp.

Note: (Service Only)

$

$

Not available

2

White Outdoor 712-0318

Hex Jam Nut 5/8-18 Thd.

$3.49

$

In Stock, Qty 9

0

3

White Outdoor 736-0317

Bell-Wash. .630" I.D. x 1.25n

$8.49

$

In Stock, Qty 10

0

4

White Outdoor 756-0430

5/8 V-Pulley .75" I.D. x 7"

$106.99

$

Usually ships in 3-6 days

0

9

White Outdoor 711-0640

Stud 3/8-16 x 2 75" Lg.

$8.49

$

Usually ships in 3-6 days

0

10

White Outdoor 712-0342

Hex Jam Nut 3/8-16 Thd.
(Superseded to 912-3008)

$4.99

$

In Stock, Qty 12

0

11

White Outdoor 736-0119

L-Wash. 5/16" l.D.
(Superseded to 936-0119)

$4.99

$

In Stock, Qty 20+

0

12

White Outdoor 712-0267

Hex Nut 5/16-18 Thd.
(Superseded to 912-3010)

$

$

Not available

13

White Outdoor 16706

Hanqer Brkt. 3.25"

Variations

16706-0637

White Outdoor 16706-0637

No Longer Available BRACKET-HANGER - POWDER BLACK (0637)

$

$

Not available

$

$

14

White Outdoor 17610

30" S.D. Deck Ass'y.

Variations

17610-0637

White Outdoor 17610-0637

No Longer Available - POWDER BLACK (0637)

$

$

Not available

17610-0638

White Outdoor 17610-0638

No Longer Available - MTD/TROY-BILT RED (0638)

$

$

Not available

$

$

15

White Outdoor 736-0217

L-Wash. 3/8n l.D. Hd.

$4.49

$

In Stock, only 2 left!

0

18

White Outdoor 710-0255

Truss Mach. Scr. 1/4-20 x .75" Lg.
(Superseded to 710-0924)

$4.99

$

In Stock, Qty 20+

0

19

White Outdoor 742-0256A

30n High Lift Blade

$

$

Not available

20

White Outdoor 748-0300

Blade Adapter

$14.99

$

In Stock, Qty 20+

0

22

White Outdoor 736-0169

L-Wash. 3/8" l.D.

$3.99

$

In Stock, Qty 14

0

23

White Outdoor 710-0152

Hex Bolt 3/8-24 x 1.0
(Superseded to 710-1039)

$4.99

$

In Stock, Qty 14

0

24

White Outdoor 710-0888

Hex Bolt 5/16-24 x 1.0" Lg.

$4.49

$

In Stock, Qty 5

0

26

White Outdoor 712-0123

Hex Nut 5/16-24 Thd.
(Superseded to 912-3057)

$7.49

$

In Stock, Qty 8

0

30

White Outdoor 710-0289

Hex Bolt 1/4-20 x 50n Lg.
(Superseded to 910-0289)

$3.99

$

In Stock, only 3 left!

0

32

White Outdoor 712-0287

Hex Nut 1/4-20 Thd.
(Superseded to 912-0287)

$4.99

$

Usually ships in 3-6 days

0

33

White Outdoor 711-0792

Hinge Pin
(Superseded to 911-0792)

$4.99

$

In Stock, Qty 11

0

34

White Outdoor 731-1032

Chute Ass'y. Comp.
(Superseded to 631-05229)

Note: (Incl. Ref. 33, 34, 54, 61, 69)

$86.99

$

In Stock, Qty 15

0

41

White Outdoor 732-0482

Extension Spring .5" O.D. x 3.2" Lg.

$

$

Not available

42

White Outdoor 726-0201

Push Speed Nut

$7.49

$

In Stock, Qty 14

0

45

White Outdoor 710-0118

Hex Bolt 5/16-18 x .75
(Superseded to 710-3008)

$4.49

$

In Stock, Qty 20+

0

46

White Outdoor 16053

Blade Brake Brkt. Ass'y.
(Superseded to 96053)

$

$

Not available

47

White Outdoor 748-0234

Shoulder Spacer .500n Dia.

$4.99

$

In Stock, only 3 left!

0

49

White Outdoor 754-0264

"V"-Belt
(Superseded to 954-0264)

$54.99

$

Usually ships in 3-6 days

0

51

White Outdoor 710-0176

Hex Bolt 5/16-18 x 2.75n

$4.99

$

Usually ships in 3-6 days

0

53

White Outdoor 15625B

Lower Outside Belt Guard

Variations

15625B-0637

White Outdoor 15625B-0637

No Longer Available GUARD-BELT-LOWER - POWDER BLACK (0637)

$

$

Not available

$

$

54

White Outdoor 732-0602

Torsion Spring
(Superseded to 732-0602A)

$12.99

$

In Stock, only 4 left!

0

55

White Outdoor 736-0329

L-Wash. 1/4" I.D.
(Superseded to 936-0329)

$4.99

$

In Stock, Qty 12

0

56

White Outdoor 714-0104

Int. Cot. Pin 5/16" Dia.

$4.49

$

In Stock, Qty 12

0

57

White Outdoor 727-0296

Brake Cable 9 75" Lg.

$

$

Not available

58

White Outdoor 736-0142

Fl-Wash. .281" l.D. x .50"

$4.99

$

In Stock, Qty 20+

0

59

White Outdoor 711-0701

Clevis Pin 1/4" Dia.
(Superseded to 911-0701)

$7.49

$

Usually ships in 3-6 days

0

60

White Outdoor 15626A

Lower Inside Belt Guard
(Superseded to 15626B-0637)

$

$

Not available

61

White Outdoor 726-0106

Cap Speed Nut 1/4" Rod

$4.49

$

Usually ships in 3-6 days

0

63

White Outdoor 714-0145

Int. Cotter Pin 1/2" Dia.

$5.49

$

In Stock, Qty 20+

0

64

White Outdoor 736-0160

Fl-Wash. .531" I.D. x .930"

$4.49

$

Usually ships in 3-6 days

0

65

747-0428

Deck Link 3.9" Lg.

$

$

Not available

67

White Outdoor 717-0916

Blade Spindle Ass'y. Comp.

$

$

Not available

68

White Outdoor 15621A

Weld Bracket

$

$

Not available

69

White Outdoor 703-1693

Hinge Mtg. Brkt.
(Superseded to 703-1693A)

$24.99

$

In Stock, only 3 left!

0

70

White Outdoor 736-0270

Bell-Wash. 1/4" I.D.

$4.49

$

In Stock, Qty 20+

0