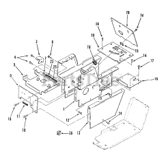
R1-12K801 (312-8) - Toro Garden Tractor (1990) Parts & Diagrams Parts Lists & Diagrams

Garden Tractor