SRD 17530 (917280020) - Husqvarna 30" Lawn Tractor (2010-12) DECALS Parts Diagram

30" Lawn Tractor

DECALS Parts Diagram

  • Title
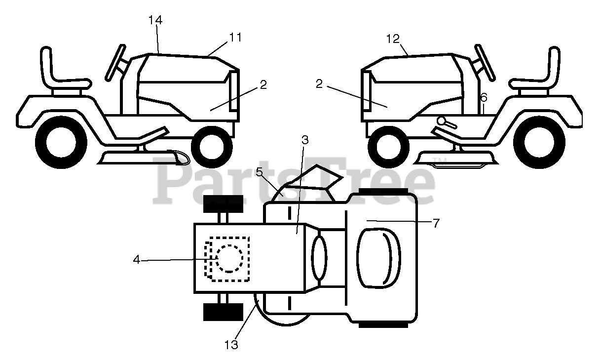
2

Husqvarna 532441482

DECAL.SIDE.PANEL.SRD17530
(Superseded to 583572401)

$

$

Not available

3

Husqvarna 532145005

DECAL BTRY SYMBOLS

$3.49

$

Usually ships in 3-10 days

0

4

Husqvarna 532431092

DECAL.ENG.BS.5HP.PB.278978

$

$

Not available

5

Husqvarna 532425113

DECAL, WARN. DEFLECT/CTFGR

$

$

Not available

6

Husqvarna 532411657

DECAL.FENDER.WARNING
(Superseded to 581578901)

$3.99

$

Usually ships in 3-10 days

0

7

Husqvarna 532438160

LABEL.EPA.COMPLIANCE
(Superseded to 583928801)

$

$

Not available

$

$

Currently unavailable

12

Husqvarna 532429196

RP.DECAL.BADGE.170MM.TEXTLOGO
(Superseded to 581627301)

$13.99

$

In Stock, Qty 10

0

13

Husqvarna 532421543

Decal, Mower V-Belt Schematic

$

$

Not available

14

Husqvarna 532423829

DECAL.WARNING.CUST.RESP.E85.

$17.99

$

Usually ships in 3-10 days

0

--

Husqvarna 532162598

DECAL
(Superseded to 584449901)

$

$

Not available

--

Husqvarna 532138311

DECAL HANDLE LIFT
(Superseded to 581724901)

$3.99

$

Usually ships in 3-10 days

0

Husqvarna 532441409

PAD.FOOTREST.LH.SRD.W/LOGO.GRE

$

$

Not available

Husqvarna 532441802

PAD.FOOTREST.RH.SRD.W/LOGO.GRE

$8.49

$

Usually ships in 3-10 days

0