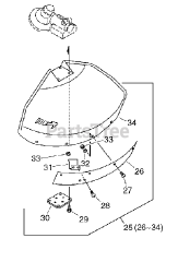
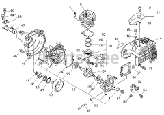
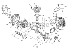
SRM-360 SL - Echo String Trimmer (SN: S00836001001 - S00836999999) Parts & Diagrams Parts Lists & Diagrams

String Trimmer