W 301023BVE (84882) - Snapper 30" Rear-Engine Riding Mower, 10hp Wiring Schematic (13HP Briggs) Parts Diagram

30" Rear-Engine Riding Mower, 10hp

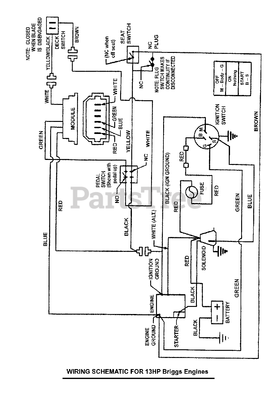
Wiring Schematic (13HP Briggs) Parts Diagram

  • Title

Wiring Schematic incl. harness #'s 7022788, 7074406 & 7028675

$

$

Not available