WE 12538 J - Weed Eater Lawn Tractor (2001) Decals Parts Diagram

Lawn Tractor

Decals Parts Diagram

  • Title
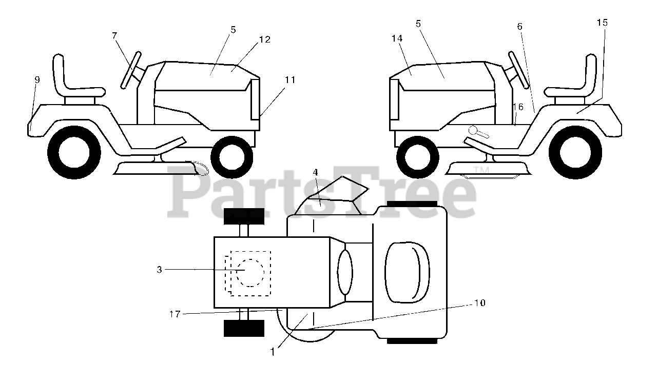
1

Electrolux/AYP 101892X

Decal, Clutch/Brake Eng/Fr
(Superseded to 532101892)

$

$

Not available

3

Electrolux/AYP 170839

Decal, Engine HP
(Superseded to 532170839)

$

$

Not available

4

Electrolux/AYP 170563

Decal Warning
(Superseded to 581579501)

$

$

Not available

5

Electrolux/AYP 168421

Decal, Pnl Sd
(Superseded to 583026301)

$

$

Not available

6

Electrolux/AYP 157140

Decal, Fender Danger English
(Superseded to 532157140)

$20.99

$

Usually ships in 3-10 days

0

7

Electrolux/AYP 162398

Decal Ins Str Wh

$

$

Not available

9

Electrolux/AYP 171448

Decal Fender

$

$

Not available

10

Electrolux/AYP 162391

Decal, Deck Grasseater

$121.99

$

Usually ships in 3-10 days

0

11

Electrolux/AYP 162392

Decal, Grille Weedeater
(Superseded to 532162392)

$

$

Not available

12

Electrolux/AYP 162389

Decal, Hood RH

$2.99

$

Usually ships in 3-10 days

0

14

Electrolux/AYP 162390

Decal, Hood LH
(Superseded to 583005301)

$

$

Not available

15

Electrolux/AYP 145005

Decal, Caution, Battery
(Superseded to 532145005)

$3.49

$

Usually ships in 3-10 days

0

16

Electrolux/AYP 157163

Decal, Oper Sdl P/L Gear Dr Eng
(Superseded to 532157163)

$

$

Not available

17

Electrolux/AYP 136832

Decal, V-Belt Sch.
(Superseded to 532136832)

$

$

Not available

Electrolux/AYP 138311

Decal, Handle Lft Height Adj.
(Superseded to 581724901)

$3.99

$

Usually ships in 3-10 days

0

Electrolux/AYP 178106

Manual, Operator's English

$6.49

$

Usually ships in 3-10 days

0

Electrolux/AYP 178107

Manual, Operator's French

$3.49

$

Usually ships in 3-10 days

0

Electrolux/AYP C38

Grass Catcher
(Superseded to 504830701)

Note: Available accessories not included with mower

$

$

Not available

Electrolux/AYP MK38

Mulch Kit w/Blades

Note: Available accessories not included with mower

$

$

Not available

Electrolux/AYP LSB42

42" Snow Blower

Note: Available accessories not included with mower

$

$

Not available

Electrolux/AYP LC05

Wheel Weights
(Superseded to 954050501)

Note: Available accessories not included with mower

$129.99

$

Usually ships in 3-10 days

0

Electrolux/AYP LBD48

48" Snow Blade

Note: Available accessories not included with mower

$

$

Not available

Electrolux/AYP CH11

Tire Chains

Note: Available accessories not included with mower

$82.99

$

Usually ships in 3-10 days

0