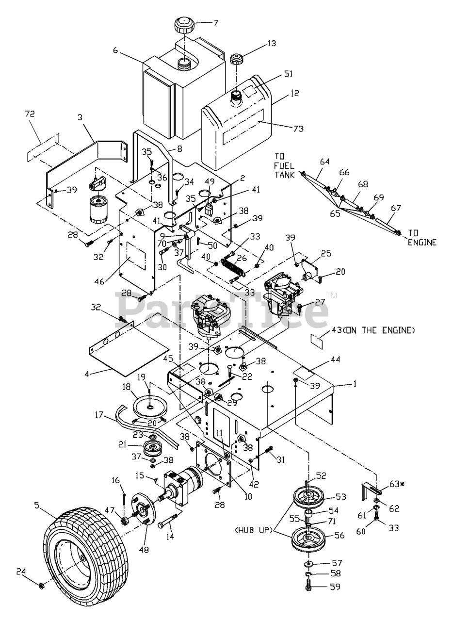
WH 4817 A (968999106) - Husqvarna 48" Walk-Behind Mower (2001-02) Rear Deck Assembly Parts Diagram

48" Walk-Behind Mower

Rear Deck Assembly Parts Diagram

  • Title
1

Husqvarna 539104560

REAR DECK W/DECALS

$

$

Not available

2

Husqvarna 539102208

TANK SUPPORT, WLDMT

$

$

Not available

$

$

Not available

4

Husqvarna 539104547

LOWER BELT SHIELD

$

$

Not available

5

Husqvarna 539104553

WHEEL, COMPLETE

$

$

Not available

$

$

Not available

5

Husqvarna 539104628

WHEEL
(Superseded to 539105805)

$

$

Not available

5

Husqvarna 539912234

VALVE STEM TR-412

$4.99

$

In Stock, Qty 16

0

6

$

$

Not available

7

$

$

Not available

8

Husqvarna 539103007

TANK STRAP

$

$

Not available

9

Husqvarna 539103461

BELL CRANK

$

$

Not available

10

Husqvarna 539102219

MOTOR MOUNT, 36

$

$

Not available

10

Husqvarna 539102220

MOTOR MOUNT, 48

$

$

Not available

11

Husqvarna 539101331

NUT 1/2-13 HEX NYLOC ZD
(Superseded to 596135601)

$4.99

$

In Stock, Qty 20+

0

12

$

$

Not available

13

Husqvarna 539101202

HYDRAULIC CAP

$22.99

$

In Stock, Qty 6

0

14

Husqvarna 539101332

HCS 1/2C X 2 3/4

$5.99

$

In Stock, only 2 left!

0

15

Husqvarna 539101465

KEY, #808 WOODRUFF

$

$

Not available

16

Husqvarna 539990297

COTTER PIN

$

$

Not available

17

Husqvarna 539101228

TRANSMISSION BELT

$

$

Not available

$

$

Not available

19

Husqvarna 539101177

KEY 5 MM SQ X 25 MM

$5.99

$

In Stock, only 2 left!

0

20

Husqvarna 539102717

SCREW 5/16C X 5/8 SQ HEAD

$3.49

$

Usually ships in 3-10 days

0

21

Husqvarna 539919078

IDLER PULLEY

$31.99

$

In Stock, Qty 5

0

22

Husqvarna 539100145

RHSNB 3/8C X 2
(Superseded to 595901401)

$3.49

$

In Stock, Qty 20+

0

23

Husqvarna 539990550

WASHER 1/2 FLAT

$

$

Not available

24

Husqvarna 539101173

LUG NUT 1/2F

$

$

Not available

25

Husqvarna 539102973

PUMP ARM WLDMT

$

$

Not available

26

Husqvarna 539916159

SPRING-TRANS

$6.99

$

In Stock, only 3 left!

0

27

Husqvarna 539990582

4CS 3/8C X 1 SERRATED HEAD
(Superseded to 596583101)

$4.99

$

In Stock, Qty 11

0

28

Husqvarna 539990563

HCS 3/8-16X1.GRD.5.ZD
(Superseded to 596564401)

$4.99

$

In Stock, Qty 15

0

29

Husqvarna 539990645

RHSNB 3/8C X 1
(Superseded to 595316801)

$4.99

$

In Stock, only 2 left!

0

30

Husqvarna 539990588

HCS 3/8C X 2

$4.99

$

In Stock, Qty 12

0

31

Husqvarna 539100143

HCS 7/16-14 X 1 GR 5 ZD
(Superseded to 596238601)

$3.49

$

Usually ships in 3-10 days

0

32

Husqvarna 539976934

HCS 5/16C X 3/4
(Superseded to 596030501)

$4.99

$

In Stock, Qty 20+

0

33

Husqvarna 539990669

HCS 5/16C X 1 3/4
(Superseded to 874780528)

$

$

Not available

33

Husqvarna 539990669

HCS 5/16C X 1 3/4
(Superseded to 874780528)

Note: (17 KAW. ONLY)

$

$

Not available

34

Husqvarna 539990548

HCS 1/4 X 1

$3.49

$

Usually ships in 3-10 days

0

35

Husqvarna 539990072

HCS 1/4C X 5/8
(Superseded to 596582501)

$3.49

$

Usually ships in 3-10 days

0

36

Husqvarna 539990052

LOCKWASHER 1/4"
(Superseded to 596564801)

$3.49

$

Usually ships in 3-10 days

0

37

Husqvarna 539990517

WASHER 3/8 FLAT
(Superseded to 596433701)

$3.49

$

In Stock, Qty 20+

0

38

Husqvarna 539990546

NUT 3/8C CENTERBLOCK

$

$

Not available

39

Husqvarna 539990184

NUT 5/16C CENTERLOCK

$

$

Not available

39

Husqvarna 539990184

NUT 5/16C CENTERLOCK

Note: (17 Kawasaki only)

$

$

Not available

40

Husqvarna 539990585

NUT 5/16C WHIZ

$

$

Not available

41

Husqvarna 539990372

NUT 1/4C CENTERLOCK
(Superseded to 539990761)

$3.49

$

In Stock, only 4 left!

0

42

Husqvarna 539990839

NUT 7/16C CENTERLOCK

$3.49

$

In Stock, only 2 left!

0

43

Husqvarna 539100128

DECAL, EXHAUST

$

$

Not available

44

Husqvarna 539101881

DECAL, PROP. 65
(Superseded to 596024201)

$

$

Not available

45

Husqvarna 539100361

DECAL, DANGER

$

$

Not available

46

Husqvarna 539104789

DECAL, CROWN H

$

$

Not available

47

Husqvarna 539101468

NUT 3/4-16 HEX SLTD GR5 ZD

$

$

Not available

48

Husqvarna 539101109

HUB.WHEEL.ZTR

$

$

Not available

$

$

Not available

50

Husqvarna 539976988

HAIRPIN #2
(Superseded to 596580601)

$4.99

$

In Stock, Qty 11

0

51

Husqvarna 539101059

DECAL, HYDRAULIC FLUID

$

$

Not available

52

Husqvarna 539102067

KEY 1/4 SQ X 3/4

$7.49

$

In Stock, only 3 left!

0

$

$

Not available

$

$

Not available

55

Husqvarna 539101995

KEY 1/4 SQ X 1 1/8

$

$

Not available

56

Husqvarna 539101834

PULLEY, ENGINE

$62.99

$

In Stock, only 1 left!

0

57

Husqvarna 539100132

WASHER, CRANKSHAFT

$6.99

$

In Stock, only 1 left!

0

58

Husqvarna 539990247

WASHER 7/16 LOCK
(Superseded to 596238901)

$3.49

$

In Stock, only 2 left!

0

59

Husqvarna 539100142

HCS M10-1.5X35MM

Note: (14 Kawasaki)

$

$

Not available

59

Husqvarna 539100141

HCS 7/16F X 1 1/2

Note: (17 Kawasaki), (Kohler 15)

$

$

Not available

60

Husqvarna 539977692

HTB M8-1.125 X 25MM

Note: (14 Kawasaki)

$

$

Not available

60

Husqvarna 539100567

HCS M8-1.25 X 30MM

Note: (Kohler)

$3.49

$

Usually ships in 3-10 days

0

61

Husqvarna 539990187

WASHER.LOCK.HVY.HLCL.SPR.5/16
(Superseded to 596238801)

Note: (14 Kawasaki)

$3.49

$

In Stock, Qty 20+

0

62

Husqvarna 539990692

WASHER 5/16 FLAT
(Superseded to 819121414)

$3.49

$

In Stock, Qty 20+

0

63

Husqvarna 539102036

BELT GUIDE

Note: See operators manual for location of belt guides

$

$

Not available

63

Husqvarna 539103462

BELT GUIDE - LONG

Note: (48" MODELS)

$

$

Not available

63

Husqvarna 539103462

BELT GUIDE - LONG

Note: (36" MODEL)

$

$

Not available

63

Husqvarna 539103463

BELT GUIDE, SHORT

Note: (36" MODEL)

$

$

Not available

64

Husqvarna 539923479

FUEL LINE 16"

Note: (Kawasaki only)

$

$

Not available

65

Husqvarna 539912222

HOSE CLAMP

Note: (Kawasaki)

$3.49

$

Usually ships in 3-10 days

0

65

Husqvarna 539912222

HOSE CLAMP

Note: (Kohler)

$3.49

$

Usually ships in 3-10 days

0

66

Husqvarna 539916325

FUEL VALVE

$13.99

$

Usually ships in 3-10 days

0

67

Husqvarna 539932956

GAS LINE 10"

$

$

Not available

68

Husqvarna 539977351

GAS LINE 3 1/2"

Note: (Kawasaki only)

$

$

Not available

68

Husqvarna 539104993

FUEL LINE 14"

Note: (Kohler)

$9.49

$

Usually ships in 3-10 days

0

69

Husqvarna 539914359

FUEL FILTER

Note: (Kawasaki only)

$

$

Not available

70

Husqvarna 539101836

BUSHING, SLEEVE

$5.99

$

Usually ships in 3-10 days

0

71

Husqvarna 539102050

BUSHING, 10GA MACHINERY

$

$

Not available

72

Husqvarna 539104787

DECAL, HUSQVARNA LOGO 9.25"

$

$

Not available

73

Husqvarna 539104788

DECAL, WH3614

$

$

Not available

73

Husqvarna 539104792

DECAL, WH4817

$

$

Not available

73

Husqvarna 539104832

DECAL WH3615

$

$

Not available