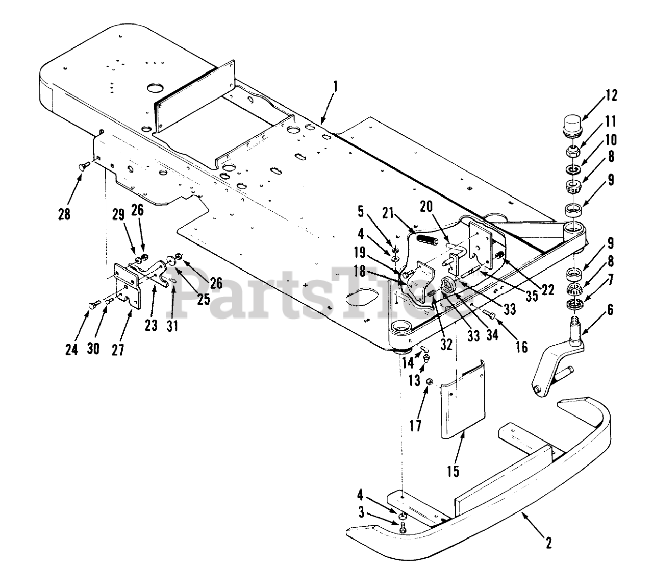
Y1-20OE02 (620-Z) - Toro Zero-Turn Mower, Drive Unit Only (SN: 010000001 - 019999999) (1991) FRAME AND FRONT WHEEL FORK Parts Diagram

Zero-Turn Mower, Drive Unit Only

FRAME AND FRONT WHEEL FORK Parts Diagram

  • Title
1

Toro 116693

Frame
(Superseded to 79-5940)

$

$

Not available

2

Toro 117455

Bumper-Front
(Superseded to 117455-03)

$1238.99

$

Usually ships in 3-6 days

0

3

Toro 908034

BOLT
(Superseded to 323-6)

$2.99

$

In Stock, Qty 20+

0

4

Toro 920009

Washer
(Superseded to 3256-24)

$0.99

$

In Stock, Qty 20+

0

5

Toro 915663

NUT
(Superseded to 3296-39)

$2.99

$

In Stock, Qty 20+

0

6

Toro 118120

SPINDLE WELDMENT

$

$

Not available

Toro 118130

SPINDLE WELDMENT R

$219.99

$

Usually ships in 3-6 days

0

7

Toro 112822

Seal
(Superseded to 93-9807)

$28.99

$

In Stock, only 2 left!

0

8

Toro 112823

Bearing
(Superseded to 254-94)

$9.99

$

In Stock, Qty 20+

0

9

Toro 112821

Cup
(Superseded to 254-72)

$10.99

$

In Stock, only 2 left!

0

10

Toro 920015

Washer
(Superseded to 3256-28)

$3.99

$

In Stock, Qty 20+

0

11

Toro 915640

Nut
(Superseded to 3296-15)

$2.99

$

In Stock, Qty 10

0

12

Toro 112825

DUST CAP

$

$

Not available

13

Toro 113353

Fitting-Grease
(Superseded to 302-2)

$2.49

$

In Stock, only 4 left!

0

14

Toro 943061

ELBOW 1/8 STREET

$

$

Not available

15

Toro 121290

Shield
(Superseded to 121290-01)

$

$

Not available

16

Toro 908019

Bolt
(Superseded to 322-5)

$0.99

$

In Stock, Qty 20+

0

17

Toro 915662

Nut
(Superseded to 3296-29)

$2.49

$

In Stock, Qty 20+

0

18

Toro 116330

Bracket RH
(Superseded to 116330-01)

$

$

Not available

Toro 116331

Bracket LH
(Superseded to 116331-01)

$

$

Not available

19

Toro 926720

Screw
(Superseded to 9264964)

$1.99

$

Usually ships in 3-6 days

0

20

Toro 116246

Latch RH
(Superseded to 116246-01)

$

$

Not available

Toro 116245

Latch LH
(Superseded to 116245-01)

$

$

Not available

21

Toro 9038

GRIP

$7.49

$

In Stock, only 3 left!

0

22

Toro 105316

CAP-ROD, PLUNGER

$1.99

$

In Stock, Qty 20+

0

23

Toro 104657

PLATE-LATCHING

$45.99

$

Usually ships in 3-6 days

0

24

Toro 900063

Bolt
(Superseded to 323-12)

$2.99

$

In Stock, Qty 9

0

25

Toro 115123

WASHER

$

$

Not available

26

Toro 915663

NUT
(Superseded to 3296-39)

$2.99

$

In Stock, Qty 20+

0

27

Toro 116362

Hitch Plate
(Superseded to 79-5970-01)

$

$

Not available

28

Toro 900063

Bolt
(Superseded to 323-12)

$2.99

$

In Stock, Qty 9

0

29

Toro 920009

Washer
(Superseded to 3256-24)

$0.99

$

In Stock, Qty 20+

0

30

Toro 932120

Pin
(Superseded to 9321204)

$5.49

$

Usually ships in 3-6 days

0

31

Toro 933504

Hairpin
(Superseded to 9335044)

$1.49

$

In Stock, Qty 5

0

32

Toro 8616

SPRING

$4.49

$

Usually ships in 3-6 days

0

33

Toro 105797

RING-RETAINING

$0.99

$

In Stock, Qty 17

0

34

$32.99

$

Usually ships in 3-6 days

0

35

Toro 116244

ROD-LOCK

$

$

Not available