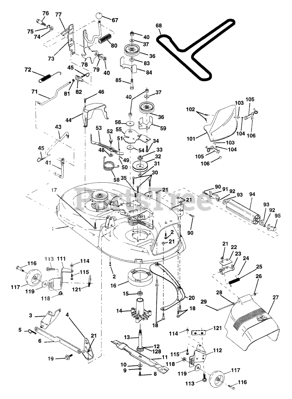
YT 150 (954840021-B) - Husqvarna Yard Tractor (1996-04) Mower Deck Parts Diagram

Yard Tractor

Mower Deck Parts Diagram

  • Title
1

Husqvarna 532144393

DECK 42"
(Superseded to 532176031)

$376.99

$

Usually ships in 3-10 days

0

2

Husqvarna 872140506

RP BOLT 5/16-18 X3/4 ZN/YEL GR
(Superseded to 595901601)

$3.49

$

In Stock, Qty 20+

0

3

Husqvarna 532138017

BRKT ASM SWAY BAR
(Superseded to 531165401)

$20.99

$

In Stock, Qty 14

0

4

Husqvarna 532138440

BRKT DECK SW BAR

$

$

Not available

5

Husqvarna 532124670

RETAINER-SPRNG RB

$

$

Not available

6

Husqvarna 532130832

REAR SUSP ARM
(Superseded to 531149301)

$13.99

$

In Stock, only 2 left!

0

8

Husqvarna 532850857

BLADE BOLT

$4.99

$

In Stock, Qty 20+

0

9

Husqvarna 810030600

LOCKWASHER
(Superseded to 539990118)

$3.99

$

In Stock, Qty 20+

0

10

Husqvarna 532140296

WASHER.BLADE

$6.99

$

In Stock, Qty 20+

0

11

Husqvarna 532134149

BLADE.42".MULCH

$14.99

$

Usually ships in 3-10 days

0

12

Husqvarna 532129895

BEARING.BALL.#6204.(MANDREL)

$13.99

$

In Stock, Qty 20+

0

13

Husqvarna 532137645

SHAFT ASM VENT
(Superseded to 532137646)

$34.99

$

In Stock, Qty 20+

0

14

Husqvarna 532128774

HOUSING.MANDREL.VENTED (MACHD)
(Superseded to 529910001)

$51.99

$

In Stock, only 1 left!

0

15

$14.99

$

In Stock, Qty 20+

0

16

Husqvarna 532140329

STRIPPER
(Superseded to 531167701)

$10.99

$

In Stock, Qty 20+

0

17

Husqvarna 872110610

BOLT
(Superseded to 596987501)

$4.99

$

In Stock, Qty 12

0

18

Husqvarna 872140505

BOLT
(Superseded to 596136401)

$3.49

$

In Stock, Qty 20+

0

19

Husqvarna 532132827

BOLT SHD 5/16-18

$

$

Not available

20

Husqvarna 532136888

BAFFLE
(Superseded to 531167001)

$17.99

$

In Stock, Qty 7

0

21

Husqvarna 873680500

LOCKNUT
(Superseded to 873690500)

$

$

Not available

22

Husqvarna 532134753

STIFFENER BRACKET
(Superseded to 532177563)

$

$

Not available

23

Husqvarna 532131267

DEFLECTOR BRACKET
(Superseded to 529845901)

$5.99

$

In Stock, Qty 14

0

24

Husqvarna 532105304

CAP-SLEEVE LT

$3.49

$

In Stock, Qty 20+

0

25

Husqvarna 532123713

SPRING TORSION

$7.99

$

In Stock, Qty 16

0

26

Husqvarna 532110452

NUT PUSH M

$3.49

$

In Stock, Qty 20+

0

27

Husqvarna 532130968

SHIELD.DEFLECTOR.MOWER.42".BLK

$43.99

$

In Stock, Qty 20+

0

28

Husqvarna 819111016

Washer 11/32 X 5/8 X 16 Ga

$

$

Not available

29

Husqvarna 532131491

ROD.HINGE
(Superseded to 595297001)

$6.99

$

In Stock, Qty 20+

0

30

Husqvarna 532138776

SCREW
(Superseded to 532173984)

$1.49

$

In Stock, Qty 20+

0

31

Husqvarna 532129963

WASHER
(Superseded to 532187690)

$5.99

$

In Stock, Qty 20+

0

32

Husqvarna 532153535

PULLEY/MANDREL
(Superseded to 532173436)

$20.99

$

In Stock, Qty 20+

0

33

Husqvarna 532137266

NUT
(Superseded to 532139729)

$9.49

$

In Stock, only 2 left!

0

$

$

Not available

35

Husqvarna 532133835

FASTENER.XMAS.TREE

$3.99

$

Usually ships in 3-10 days

0

36

Husqvarna 532131494

FLAT IDLER PULLEY
(Superseded to 597025001)

$28.99

$

In Stock, Qty 20+

0

37

Husqvarna 819131316

WASHER
(Superseded to 596565301)

$3.49

$

In Stock, Qty 20+

0

40

$

$

Not available

41

$7.99

$

In Stock, only 1 left!

0

43

Husqvarna 532140083

CLUTCH ROD

$

$

Not available

44

Husqvarna 532140088

GUARD MANDREL LH BLACK

$39.99

$

In Stock, Qty 9

0

45

Husqvarna 532124788

RETAINER M
(Superseded to 532004497)

$4.99

$

In Stock, Qty 20+

0

46

Husqvarna 532137729

SCREW.1/4-20X5/8

$2.49

$

In Stock, Qty 20+

0

$4.99

$

Usually ships in 3-10 days

0

49

Husqvarna 532133940

CAM FOLLOWER
(Superseded to 532174284)

$10.99

$

In Stock, only 4 left!

0

$

$

Not available

51

$3.49

$

In Stock, only 1 left!

0

52

Husqvarna 532139888

BOLT.SHOULDER.5/16-18

$4.99

$

In Stock, Qty 16

0

53

Husqvarna 532131845

ARM
(Superseded to 532184907)

$

$

Not available

54

Husqvarna 532133943

HARDENED WASHER
(Superseded to 532178515)

$6.99

$

In Stock, Qty 20+

0

55

Husqvarna 532140084

IDLER ARM
(Superseded to 532151785)

$45.99

$

In Stock, only 2 left!

0

56

Husqvarna 532122052

SPACER RETAINER
(Superseded to 532165723)

$6.99

$

In Stock, Qty 20+

0

$5.99

$

In Stock, only 2 left!

0

59

Husqvarna 532141043

GUARD, BELT
(Superseded to 531165901)

$5.99

$

In Stock, Qty 20+

0

67

Husqvarna 532106933

KNOB T (1/2-HOLE)

$7.99

$

In Stock, Qty 5

0

68

Husqvarna 532144200

V-BELT TRIPATH

$51.99

$

In Stock, Qty 20+

0

71

Husqvarna 532142427

CLUTCH ROD
(Superseded to 532142655)

$

$

Not available

72

Husqvarna 532131870

RETURN SPRING

$13.99

$

Usually ships in 3-10 days

0

73

Husqvarna 532127847

ARM CLUTCH SECONDARY

$

$

Not available

$4.99

$

In Stock, Qty 20+

0

75

$1.49

$

In Stock, Qty 20+

0

$6.99

$

In Stock, only 1 left!

0

77

Husqvarna 532127845

KEEPER SPRING

$

$

Not available

78

Husqvarna 532140179

CLUTCH ARM

$

$

Not available

79

Husqvarna 532127498

BUSHING.FLANGE.E-RING.GROOVE

$

$

Not available

80

Husqvarna 532153701

SPRING-CLUTCH (2 2 PW01)

$

$

Not available

81

Husqvarna 873350600

NUT
(Superseded to 873220600)

$5.99

$

In Stock, only 2 left!

0

82

Husqvarna 532142028

TRUNNION.ADJUSTABLE.3/8-16

$

$

Not available

$

$

Not available

84

Husqvarna 532144394

KEEPER BELT
(Superseded to 531150901)

$

$

Not available

85

Husqvarna 872140618

BOLT
(Superseded to 872110618)

$5.99

$

In Stock, Qty 20+

0

90

Husqvarna 874760616

BOLT
(Superseded to 596564401)

$4.99

$

In Stock, Qty 15

0

91

Husqvarna 532132274

BRACKET LH (A)
(Superseded to 532175746)

$9.49

$

In Stock, only 2 left!

0

92

Husqvarna 873800600

NUT
(Superseded to 873680600)

$

$

Not available

93

Husqvarna 819171416

Washer 17/32 x 7/8 x 16 Ga.

$4.99

$

In Stock, only 2 left!

0

94

Husqvarna 532132264

NOSE ROLLER

$37.99

$

In Stock, Qty 20+

0

95

Husqvarna 532132273

BRACKET RH (B)
(Superseded to 531154101)

$14.99

$

In Stock, only 4 left!

0

101

Husqvarna 532136420

COVER MULCH 42"

$35.99

$

In Stock, Qty 9

0

102

Husqvarna 871161010

SCREW
(Superseded to 596039001)

$3.49

$

In Stock, Qty 20+

0

103

$3.49

$

In Stock, Qty 20+

0

104

Husqvarna 810071000

LOCKWASHER #10

$4.99

$

In Stock, only 2 left!

0

105

Husqvarna 532130758

LATCH ASSEMBLY
(Superseded to 597000601)

$6.99

$

Usually ships in 3-10 days

0

106

Husqvarna 532125004

WELDNUT
(Superseded to 596987401)

$3.49

$

In Stock, Qty 20+

0

111

Husqvarna 532140353

BRACKET
(Superseded to 532181040)

$39.99

$

Usually ships in 3-10 days

0

112

Husqvarna 532132262

BRACKET
(Superseded to 532181040)

$39.99

$

Usually ships in 3-10 days

0

113

Husqvarna 817490512

SCREW.THDROL.5/16-18X3/4.TTY
(Superseded to 539976934)

$4.99

$

In Stock, Qty 20+

0

114

Husqvarna 873510500

NUT
(Superseded to 873800500)

$

$

Not available

115

Husqvarna 872110504

BOLT.CARR.5/16-18X1/2
(Superseded to 596039401)

$2.49

$

In Stock, Qty 20+

0

116

Husqvarna 532137644

BOLT, SHOULDER
(Superseded to 596434404)

$2.49

$

In Stock, Qty 20+

0

117

Husqvarna 532133957

WHEEL GAGE DONUT

$14.99

$

In Stock, Qty 20+

0

118

Husqvarna 873930600

LOCKNUT
(Superseded to 873680600)

$

$

Not available

119

Husqvarna 819121414

WASHER.5/16.FLAT.STE.STD.
(Superseded to 596134901)

$3.49

$

In Stock, Qty 20+

0

121

Husqvarna 532143723

BRACKET.EXTRUDED.GAGE.WHEEL

$

$

Not available

128

Husqvarna 532153390

WASHER FELT

$4.99

$

Usually ships in 3-10 days

0

Husqvarna 532130794

KIT.MANDREL.ASM.3.BOLT

Note: (Includes Key Nos. 8-10, 12-15, 31 and 33)

$62.99

$

In Stock, Qty 20+

0

Husqvarna 532145411

DECK SERVICE 42"
(Superseded to 532164963)

Note: (Standard Deck - Order noseroller, mulch cover and gauge wheel components separately Key Nos. 90-95, 101-106 and 111-120)

$

$

Not available