ZTH 5223 KOA (968999182) - Husqvarna 52" Zero-Turn Mower (2001-11) Kawasaki And Kohler Fuel Assembly Parts Diagram

52" Zero-Turn Mower

Kawasaki And Kohler Fuel Assembly Parts Diagram

  • Title
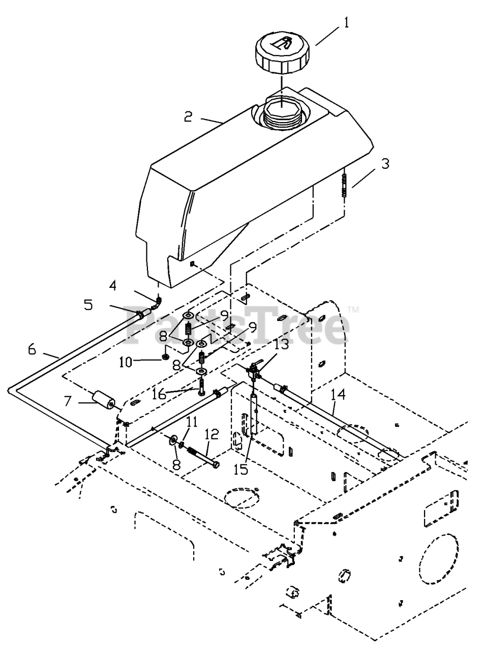
1

Husqvarna 539104962

FUEL CAP
(Superseded to 539106188)

$37.99

$

In Stock, Qty 10

0

2

Husqvarna 539104410

FUEL TANK RT

$

$

Not available

2

Husqvarna 539104409

LEFT TANK W/CUP HOLDER

$

$

Not available

3

Husqvarna 539102502

STUD, 5/16C

$10.99

$

In Stock, only 2 left!

0

4

Husqvarna 539102650

HOSE BARB 90 DEGREE

$

$

Not available

5

Husqvarna 539912222

HOSE CLAMP

$3.49

$

Usually ships in 3-10 days

0

6

$

$

Not available

7

Husqvarna 539104897

TANK SPACER

$

$

Not available

8

Husqvarna 539990692

WASHER 5/16 FLAT
(Superseded to 819121414)

$3.49

$

In Stock, Qty 20+

0

$3.49

$

In Stock, only 4 left!

0

10

Husqvarna 539990717

NUT 5/16 NYLOC
(Superseded to 596583702)

$3.49

$

In Stock, Qty 20+

0

11

Husqvarna 539990187

WASHER.LOCK.HVY.HLCL.SPR.5/16
(Superseded to 596238801)

$3.49

$

In Stock, Qty 20+

0

12

Husqvarna 539102335

HCS 5/16C X 4

$

$

Not available

13

Husqvarna 539102679

FUEL VALVE
(Superseded to 598462501)

$51.99

$

Usually ships in 3-10 days

0

14

$

$

Not available

15

Husqvarna 539105281

FUEL LINE 29.5"
(Superseded to 539105382)

$20.99

$

Usually ships in 3-10 days

0

15

Husqvarna 539104980

FUEL LINE 16"

$

$

Not available

16

Husqvarna 539990209

HCS 5/16C X 1

$1.99

$

Usually ships in 3-10 days

0