Echo 710803011  TORQUE NUT 1/4

Echo 710803011 TORQUE NUT 1/4

Echo 710803011

TORQUE NUT 1/4
(Superseded to Discontinued)

$

$

Not available

Models that Use this Part

Your part was not found on any models.

  • If you feel this is in error or desire further assistance, please call us!

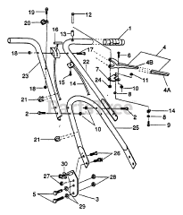
LMC-212 - Echo Walk-Behind Lawn Mower

Handles, Throttle, Engine Brake Lever