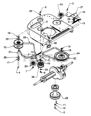
MTD 756-0658  PULLEY-ENGINE DBL

MTD 756-0658 PULLEY-ENGINE DBL

MTD 756-0658

PULLEY-ENGINE DBL
(Superseded to 956-1189A)

$133.99

$

Usually ships in 3-6 days

0

Models that Use this Part

Your part was not found on any models.

  • If you feel this is in error or desire further assistance, please call us!

13A-325-401 - Yard-Man Lawn Tractor (1999)

Variable Drive

13A-325-402 - Yard-Man Lawn Tractor (1999)

Variable Drive

13A-325-402 - Yard-Man Lawn Tractor (2001)

Idler Assembly

13A-328-129 - Yard Machines Lawn Tractor (1999) (Home Depot)

Variable Drive

13A-328-402 - Yard-Man Lawn Tractor (2000)

Drive Assembly

13A-328-402 - Yard-Man Lawn Tractor (2002)

Drive Assembly

13B-325-401 - Yard-Man Lawn Tractor (1999)

Variable Drive

13B-325-401 - Yard-Man Lawn Tractor (2000)

Drive Assembly

13B-325-401 - Yard-Man Lawn Tractor (2001)

Drive Assembly

13B-325-401 - Yard-Man Lawn Tractor (2002)

Drive Assembly

247.270170 (13A-325-099) - Craftsman Lawn Tractor (1999) (Sears)

Variable Drive