Toro Consumer 111560  Idler Block

  • TLB 111560 - TLB 111560 (Slide 1 of 1)

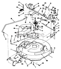
Toro 111560

Idler Block
(Superseded to )

5.75 in.

3.85 in.

1.55 in.

0.12 lbs.

Description... Hide
This repair part is made by the Original Equipment Manufacturer (OEM) to return your equipment to peak performance levels after normal use. When installing it, remember to do so in a well lit and ventilated space, while taking proper safety precautions like eye protection and chemical-resistant gloves as appropriate. Using only Genuine OEM parts, the same that would be used by an Authorized Dealer performing a warranty repair, will ensure the optimal performance and prolong the life of your equipment.

$31.99

$

Usually ships in 3-6 days

0

Models that Use this Part

Your part was not found on any models.

  • If you feel this is in error or desire further assistance, please call us!

05-36RL01 - Toro 36" Rear-Discharge Mower Deck (1986)

Rear Discharge Mower-36 In. (92 Cm) (vehicle Identification Number 35-36rl01) 2

05-37SL01 - Toro 37" Side-Discharge Mower Deck (1986)

SIDE DISCHARGE MOWER-37 in. (94 cm)(VEHICLE IDENTIFICATION NUMBER 05-37SL01) 2

32-11B403 (211-4) - Toro Lawn Tractor (1989)

30" Mower Deck

32-12B501 (212-5) - Toro Lawn Tractor (1989)

30" Mower Deck

32-12BE01 (212-H) - Toro Lawn Tractor (1989)

30" Mower Deck

35-30SL01 - Toro 30" Side-Discharge Mower Deck (1990)

Side Discharge Mower - 30" (76.2cm), Vin 35-30sl01

35-30SL02 - Toro 30" Side-Discharge Mower Deck (SN: 010000001 - 019999999) (1991)

Deck Assembly

35-30SL03 - Toro 30" Side-Discharge Mower Deck (SN: 020000001 - 029999999) (1992)

Deck Assembly (continued)

35-36RL01 - Toro 36" Rear-Discharge Mower Deck for 200 Series (1987)

Rear Discharge Mower-36 In. (92 Cm) (vehicle Identification Number 35-36rl01) 2

35-36RL02 - Toro 36" Rear-Discharge Mower Deck (1990)

Side Discharge Mower - 30" (76.2cm), Vin 35-30sl01

35-36RL03 - Toro 36" Rear-Discharge Mower Deck (SN: 010000001 - 019999999) (1991)

Spindle Belt Assembly (continued)

35-36RL03 - Toro 36" Rear-Discharge Mower Deck (SN: 020000001 - 029999999) (1992)

Spindle Belt Assembly (continued)

35-36RL03 - Toro 36" Rear-Discharge Mower Deck (SN: 039000001 - 039999999) (1993)

Spindle Belt Assembly (continued)

35-37SL01 - Toro 37" Side-Discharge Mower Deck for 200 Series (1987)

Rear Discharge Mower-36 In. (92 Cm) (vehicle Identification Number 35-36rl01) 2

35-37SL01 - Toro 37" Side-Discharge Mower Deck for 200 Series (1988)

Rear Discharge Mower-36 In. (92 Cm) (vehicle Identification Number 35-36rl01) 2

35-37SL01 - Toro 37" Side-Discharge Mower Deck for 200 Series (1989)

Rear Discharge Mower-36 In. (92 Cm) (vehicle Identification Number 35-36rl01) 2

35-37SL02 - Toro 37" Side-Discharge Mower Deck (1990)

Side Discharge Mower - 30" (76.2cm), Vin 35-30sl01

35-37SL02 - Toro 37" Side-Discharge Mower Deck (1991)

Spindle Belt Assembly

42-08B401 (208-4) - Toro Yard Tractor (1989)

30" Mower Deck

42-11B501 (211-5) - Toro Yard Tractor (1989)

30" Mower Deck

E2-12K502 (212-5) - Toro Garden Tractor (1989)

30" MOWER DECK (212-5SB)

E2-12KE01 (212-H) - Toro Garden Tractor (1989)

30" MOWER DECK (212-5SB)

F2-12K501 (212-5 SB) - Toro Garden Tractor (1988)

30" MOWER DECK (212-5SB)

R2-12K501 (212-5) - Toro Garden Tractor (1989)

30" MOWER DECK (212-5SB)

R2-12KE01 (212-H) - Toro Garden Tractor (1989)

30" MOWER DECK (212-5SB)

Don’t see your model? Add key terms into the filter above to refine your search results.