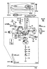
Toro Consumer 299851  Body Assy. Carburetor

Toro 299851 Body Assy. Carburetor

Toro 299851

Body Assy. Carburetor
(Superseded to )

$

$

Currently unavailable

Models that Use this Part

Your part was not found on any models.

  • If you feel this is in error or desire further assistance, please call us!

30108 - Toro ProLine Walk-Behind Mower, Gear Drive, 8hp (SN: 004000001 - 004999999) (1984)

Briggs Stratton Model No. 191706-5839-01 (continued) 2

55003 (800) - Toro Lawn Tractor (SN: 000000001 - 000999999) (1970)

Model 390417 Carburetor Assembly (recoil Electric)

55051 (800) - Toro Lawn Tractor, Electric (SN: 000000001 - 000999999) (1970)

Model 390417 Carburetor Assembly (recoil Electric)

55152 (888) - Toro Toromatic Lawn Tractor (SN: 000000001 - 000999999) (1970)

Model 390417 Carburetor Assembly

55256 (888) - Toro Toromatic Lawn Tractor (SN: 001000001 - 001999999) (1971)

Model No. 390417 Carburetor Assembly (for Engine 191707-0124 And 190707-0142)

56132 (8-25) - Toro Recycler Rear-Engine Riding Mower (SN: 010000001 - 019999999) (1991)

Briggs Stratton Model No. 191707-6021-01 (cont.) 2

56133 (8-25) - Toro Rear-Engine Riding Mower (SN: 010000001 - 019999999) (1991)

Briggs Stratton Model No. 191707-6021-01 2

56138 (8-32) - Toro Rear-Engine Riding Mower (SN: 003000001 - 003999999) (1983)

Engine Briggs Stratton Model No. 191702-2133-01 2

56138 (8-32) - Toro Rear-Engine Riding Mower (SN: 004000001 - 004999999) (1984)

Engine Briggs Stratton Model No. 191702-2133-01 2

56138 (8-32) - Toro Rear-Engine Riding Mower (SN: 005000001 - 005999999) (1985)

Engine Briggs Stratton Model No. 191702-2133-01 2

56138 (8-32) - Toro Rear-Engine Riding Mower (SN: 006000001 - 006999999) (1986)

Engine Briggs Stratton Model No. 191702-2160-01 (continued) 8 H.p. Rear Engine Rider Recoil Model 56138 2

56138 (8-32) - Toro Rear-Engine Riding Mower (SN: 007000001 - 007999999) (1987)

Engine Briggs Stratton Model No. 191702-2160-01 (continued) 8 H.p. Rear Engine Rider Recoil Model 56138 2

56138 (8-32) - Toro Rear-Engine Riding Mower (SN: 008000001 - 008999999) (1988)

Engine Briggs Stratton Model No. 191702-2531-01 8 H.p. Rear Engine Rider Recoil Model 56138

56145 (8-32) - Toro Rear-Engine Riding Mower (SN: 003000001 - 003999999) (1983)

Engine Briggs Stratton Model No. 191707-2132-01 2

56145 (8-32) - Toro Rear-Engine Riding Mower (SN: 004000001 - 004999999) (1984)

Engine Briggs Stratton Model No. 191707-2132-01 2

56145 (8-32) - Toro Rear-Engine Riding Mower (SN: 005000001 - 005999999) (1985)

Engine Briggs Stratton Model No. 191707-2132-01 2

56145 (8-32) - Toro Rear-Engine Riding Mower (SN: 006000001 - 006999999) (1986)

Engine Briggs Stratton Model No. 191702-2160-01 (continued) 8 H.p. Rear Engine Rider Recoil Model 56138 2

56145 (8-32) - Toro Rear-Engine Riding Mower (SN: 007000001 - 007999999) (1987)

Engine Briggs Stratton Model No. 191702-2160-01 (continued) 8 H.p. Rear Engine Rider Recoil Model 56138 2

56145 (8-32) - Toro Rear-Engine Riding Mower (SN: 008000001 - 008999999) (1988)

Engine Briggs Stratton Model No. 191702-2531-01 8 H.p. Rear Engine Rider Recoil Model 56138

56145 (8-32) - Toro Rear-Engine Riding Mower (SN: 009000001 - 009999999) (1989)

Engine Model No. 191707-2161-01 (continued) 2

56150 (8-32) - Toro Professional Rear-Engine Riding Mower (SN: 006000001 - 006999999) (1986)

Engine 8 H.p. Briggs Stratton Model No. 193707-0152-01 (continued)

56150 (8-32) - Toro Professional Rear-Engine Riding Mower (SN: 007000001 - 007999999) (1987)

Engine Briggs Stratton Model No. 193707-0152-01 (continued) 8 H.p. Rear Engine Rider Electric Model 56150

56150 (8-32) - Toro Professional Rear-Engine Riding Mower (SN: 008000001 - 008999999) (1988)

Engine Briggs Stratton Model No. 193707-0152-01 8 H.p. Rear Engine Rider Electric Model 56150 (continued)

56150 (8-32) - Toro Professional Rear-Engine Riding Mower (SN: 009000001 - 009999999) (1989)

Engine Model No. 193707-0307-01 (continued) 8 H.p. Rear Engine Rider Electric Model 56150

56170 (11-32) - Toro Professional Rear-Engine Riding Mower (SN: 006000001 - 006999999) (1986)

Engine 8 H.p. Briggs Stratton Model No. 193707-0152-01 (continued)

Don’t see your model? Add key terms into the filter above to refine your search results.