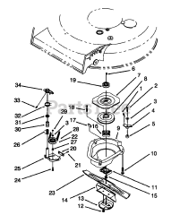
Toro Consumer 49-7920  Brake Plate Assembly

Toro 49-7920

Brake Plate Assembly
(Superseded to 94-1601)

5.45 in.

4.00 in.

3.25 in.

0.97 lbs.

$

$

Not available

Models that Use this Part

Your part was not found on any models.

  • If you feel this is in error or desire further assistance, please call us!

20106 - Toro Walk-Behind Mower (SN: 010000001 - 019999999) (1991)

Blade Brake Clutch Assembly

20106 - Toro Walk-Behind Mower (SN: 020000001 - 029999999) (1992)

Blade Brake Clutch Assembly

20107 - Toro Walk-Behind Mower (SN: 010000001 - 019999999) (1991)

Blade Brake Clutch Assembly

20107 - Toro Walk-Behind Mower (SN: 020000001 - 029999999) (1992)

Blade Brake Clutch Assembly

20210 - Toro Walk-Behind Mower (SN: 010000001 - 019999999) (1991)

Blade Brake Clutch Assembly

20210 - Toro Walk-Behind Mower (SN: 020000001 - 029999999) (1992)

Blade Brake Clutch Assembly

20211 - Toro Walk-Behind Mower (SN: 010000001 - 019999999) (1991)

Blade Brake Clutch Assembly

20219 - Toro Walk-Behind Mower (SN: 010000001 - 019999999) (1991)

Blade Brake Clutch Assembly

20324 - Toro Walk-Behind Mower (SN: 020000001 - 029999999) (1992)

Blade Brake Clutch Assembly

20325 - Toro Walk-Behind Mower (SN: 020000001 - 029999999) (1992)

Blade Brake Clutch Assembly

20438 - Toro 21" Recycler II Super Pro Walk-Behind Mower (SN: 039000001 - 039999999) (1993)

Blade Brake Clutch Assembly

20438 - Toro 21" Recycler II Super Pro Walk-Behind Mower (SN: 049000001 - 049999999) (1994)

Blade Brake Clutch Assembly

20438 WF - Toro Walk-Behind Mower (SN: 039000001 - 039999999) (1993)

Blade Brake Clutch Assembly

20439 - Toro Walk-Behind Mower (SN: 039000001 - 039999999) (1993)

Blade Brake Clutch Assembly

20439 - Toro Walk-Behind Mower (SN: 049000001 - 049999999) (1994)

Blade Brake Clutch Assembly

20439 WF - Toro Walk-Behind Mower (SN: 039000001 - 039999999) (1993)

Blade Brake Clutch Assembly

20465 - Toro Super Recycler Walk-Behind Mower (SN: 059000001 - 059999999) (1995)

Engine Assembly

20466 - Toro Super Recycler Walk-Behind Mower (SN: 059000001 - 059999999) (1995)

Engine Assembly

20532 - Toro Walk-Behind Mower (SN: 009000001 - 009999999) (1989)

Engine And Blade Brake Clutch Assembly

20584 C - Toro Walk-Behind Mower (SN: 009000001 - 009999999) (1989)

Blade Brake Clutch Assembly

20584 - Toro Walk-Behind Mower (SN: 004000001 - 004999999) (1984)

Blade Brake Clutch Assembly

20584 - Toro Walk-Behind Mower (SN: 005000001 - 005999999) (1985)

Blade Brake Clutch Assembly

20584 - Toro Walk-Behind Mower (SN: 006000001 - 006999999) (1986)

Blade Brake Clutch Assembly

20584 - Toro Walk-Behind Mower (SN: 007000001 - 007999999) (1987)

Blade Brake Clutch Assembly

20584 - Toro Walk-Behind Mower (SN: 008000001 - 008999999) (1988)

Blade Brake Clutch Assembly

Don’t see your model? Add key terms into the filter above to refine your search results.