White Outdoor 754-0277  BELT-V 1/2 X 71

White Outdoor 754-0277 BELT-V 1/2 X 71

White Outdoor 754-0277

BELT-V 1/2 X 71
(Superseded to 954-0277)

$

$

Not available

Models that Use this Part

Your part was not found on any models.

  • If you feel this is in error or desire further assistance, please call us!

LT-112 (135-688-190) - White Outdoor 36" Lawn Tractor (1985)

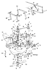
36" Rear Discharge Mowing Deck Assembly

LT-112 (136-688-190) - White Outdoor 36" Lawn Tractor (1986)

36" Rear Discharge Deck Drive Assembly