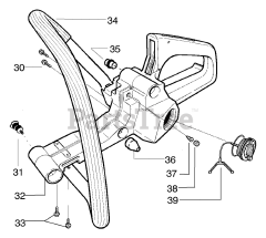
137 e - Husqvarna Chainsaw (2005-03) Parts & Diagrams Parts Lists & Diagrams

Chainsaw