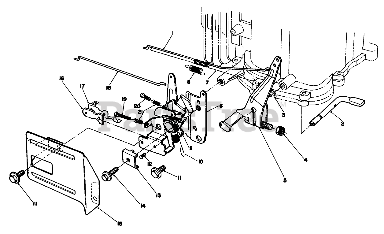
22510 - Toro Walk-Behind Mower (SN: 007000001 - 007999999) (1987) GOVERNOR ASSEMBLY Parts Diagram

Walk-Behind Mower

GOVERNOR ASSEMBLY Parts Diagram

  • Title
1

Toro 81-4450

Rod-Carburetor

$

$

Not available

2

Toro 81-4480

SHAFT

$

$

Not available

3

Toro 814540

E-Ring

$

$

Currently unavailable

4

$

$

Not available

5

Toro 81-4500

ARM ASM

$

$

Not available

6

Toro 81-4510

THROTTLE

$

$

Not available

7

Toro 81-4470

SPRING

$

$

Not available

8

Toro 81-4460

SPRING

$15.99

$

Usually ships in 3-6 days

0

9

Toro 81-4570

SPRING

$

$

Not available

10

Toro 81-4520

SPRING

$15.99

$

Usually ships in 3-6 days

0

11

$

$

Not available

12

Toro 81-4530

RIVET

$2.49

$

Usually ships in 3-6 days

0

13

Toro 81-1690

CLAMP-CABLE

$2.99

$

Usually ships in 3-6 days

0

14

$

$

Not available

15

Toro 57-5750

THROTTLE GUARD

$

$

Not available

16

Toro 81-1830

INSULATOR-KILL SWITCH

$7.49

$

Usually ships in 3-6 days

0

17

Toro 81-1840

TERMINAL-KILL SWITCH

$11.99

$

Usually ships in 3-6 days

0

18

$

$

Not available

19

Toro 81-4560

SCREW

$

$

Not available

20

Toro 81-4550

SCREW

$

$

Not available

21

Toro 81-2900

SPRING

$

$

Not available

22

Toro 81-0380

SCREW

$

$

Not available

23

Toro 81-4780

Clamp
(Superseded to 81-1480)

$

$

Not available