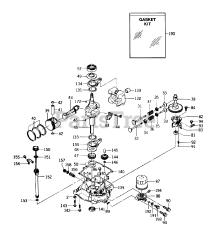
33-08B504 (108-5) - Toro Rear-Engine Riding Mower (1988) Parts & Diagrams Parts Lists & Diagrams

Rear-Engine Riding Mower