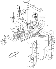
V52-14KO-5 - Exmark 52" Viking Walk-Behind Mower, 14hp Kohler (SN: 102000 - 114999) (1995) Parts & Diagrams Parts Lists & Diagrams

52" Viking Walk-Behind Mower, 14hp Kohler