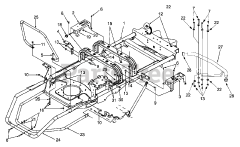
Z-200 (53BA1A6M190) - White Outdoor 48" Zero-Turn Mower (1999) Parts & Diagrams Parts Lists & Diagrams

48" Zero-Turn Mower