BCS America 300.00001  Fitting Grease Straight

BCS America 300.00001 Fitting Grease Straight

BCS America 300.00001

Fitting Grease Straight
(Superseded to )

$

$

Not available

Models that Use this Part

Your part was not found on any models.

  • If you feel this is in error or desire further assistance, please call us!

Brush Mower - BCS America Brush Mower Attachment (1982 - 1995)

30" Mower Deck (SN: 120300 & Above)

Cutter Bar - BCS America 30", 32", 40" Sickle Bar Attachment

30" Cutter Bar Control (SN: 20000 - 74500)

Cutter Bar - BCS America Duplex Sickle Bar Mower Attachment

Transmission (SN: 000001 - 326505)

Cutter Bar - BCS America Sickle Bar Mower Attachment (1994 & Before)

Spline Shaft Cutter Bar Control (SN: 10000 - 74000)

Cutter Bar - BCS America Sickle Bar Mower Attachment (1995 - 2012)

Cutter Bar Control w/ New Style Drive Pin

Lawn Mower - BCS America 38" Rotary Lawn Mower Attachment (1994 & Before)

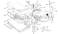
38" Deck Catcher (SN: 10000 - 118458)

Lawn Mower - BCS America 38" Rotary Lawn Mower Attachment (1995 & After)

38" Deck Catcher (SN: 131396 - 360713)

Lawn Mower - BCS America 40" Rotary Lawn Mower Attachment (1994 & Before)

40" Mower Blade Drive (SN: 30000 & Above)

Lawn Mower - BCS America 40" Rotary Lawn Mower Attachment (1995 & After)

40" Mower Blade Drive (SN: 30000 & Above)

Sweeper - BCS America Sweeper Attachment (2005 & After)

Gear Box for 30" & 40" (SN: 127176 & Above)

Wheel - BCS America Free Wheel Device

Free Wheel Device